Запасные части ЧТЗ Запасные части ЧТЗ
Барнаул
Например:
Актобе
Алдан
или
Выбрать автоматически
Актобе
Алдан
Алматы
Алчевск
Архангельск
Астана
Астрахань
Атырау
Баку
Балашиха
Барнаул
Белгород
Бердянск
Бишкек
Владивосток
Владикавказ
Воркута
Воронеж
Горловка
Грозный
Донецк
Екатеринбург
Иваново
Ижевск
Иркутск
Казань
Калининград
Каменск-Уральский
Караганда
Каховка
Кемерово
Киров
Комсомольск-на-Амуре
Костанай
Краснодар
Красноярск
Красный луч
Ленск
Луганск
Магадан
Магнитогорск
Макеевка
Махачкала
Мелитополь
Минск
Мирный (Якутия)
Москва
Мурманск
Нерюнгри
Нижневартовск
Нижний Новгород
Нижний Тагил
Новая каховка
Новокузнецк
Новосибирск
Новый Уренгой
Норильск
Ноябрьск
Нур-Султан
Омск
Оренбург
Ош
Павлодар
Пермь
Петрозаводск
Петропавловск
Петропавловск-Камчатский
Псков
Ростов-на-Дону
Салехард
Самара
Санкт-Петербург
Саратов
Севастополь
Семей
Симферополь
Сочи
Ставрополь
Сургут
Сыктывкар
Тараз
Ташкент
Токмак
Томск
Тында
Тюмень
Ульяновск
Усинск
Усть-Каменогорск
Уфа
Хабаровск
Ханты-Мансийск
Херсон
Челябинск
Чита
Шымкент
Экибастуз
Энергодар
Южно-Сахалинск
Якутск
Ваш город
Барнаул
Войти
Запасные части к тракторам на одном сайте
+7 (932) 303-00-10
+7 (932) 303-00-10
г. Барнаул, ул. Попова, д. 244
Пн-Пт: 9:30-18:30 Cб-Вс: Выходной
Отправить заявку


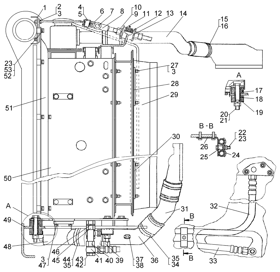
Установка радиаторов (для трактора с «обратным» потоком) на Т10М / Б10М


/
с НДС 20%
Описание
Установка радиаторов (для трактора Т10М с «обратным» потоком)
#Номер запчастиНаименование деталиКол-во в сборке
164-08-250СПКронштейн1
2-Болт М8-6g×25.88.35.0194
3-Шайба 8Т 65Г 0916
464-08-290-01Палец1
5-Шплинт 3,2×22.0192
664-08-427Проушина1
764-08-290Палец1
864-08-291Раскос1
9-Гайка М18×1,5-7Н.6.0193
10-Шайба 18 ОТ 65Г 091
11700-40-4428Втулка2
1224-08-157Втулка1
1324-08-154Тарелка амортизатора2
1464-08-386Патрубок1
15700-46-2308Рукав2
1637-26-139СП
-
Хомут
Хомут червячный SGT 50-70/9 фирмы Норма 2
4
17700-40-9292Амортизатор8
1864-08-389Втулка4
1964-08-388Накладка4
20-Шайба 16 ОТ 65Г 094
213013Гайка4
22-Гайка М10-7Н.6.0191
23-Шайба 10 ОТ 65Г 0911
2450-60-230Прижим1
2550-26-115Втулка1
2650-09-138СПКронштейн1
27-Гайка М8-7Н.6.0198
28700-40-9588Прокладка2
2964-08-51Щиток1
3064-08-54Накладка4
3150-08-52Патрубок1
3250-26-485-08СП
50-26-485-09СП 2
Рукав 161
3350-26-485-10СП
50-26-485-11СП 2
Рукав 161
34700-40-3503Рукав2
35700-41-2222СП
-
Хомут
Хомут червячный SGT 70-90/9 фирмы Норма 2
6
3664-08-385Патрубок1
37700-37-2316Пробка1
38-Кольцо 10×161
3964-08-354СПВставка1
4064-08-353СПВставка1
4150-56-109СПУгольник2
42700-41-3306Болт полый2
43261164Кольцо4
44700-40-3504Рукав2
45700-41-3412Штуцер1
4640910Кольцо2
47-Болт М8-6g×30.88.35.0194
4864-08-264СПКран1
4964-08-265СПНакладка4
5064-08-13-02СП
64-08-13-04СП
64-08-13-03СП 1
Блок радиаторов1
51700-40-9583Уплотнение1
52-Болт М10-6g×18.58.01910
533197Шайба9
1 Для трактора с гидромеханической трансмиссией.
2 Для экспорта
Установка радиаторов (для трактора с «обратным» потоком)