Запасные части ЧТЗ Запасные части ЧТЗ
Барнаул
Например:
Актобе
Алдан
или
Выбрать автоматически
Актобе
Алдан
Алматы
Алчевск
Архангельск
Астана
Астрахань
Атырау
Баку
Балашиха
Барнаул
Белгород
Бердянск
Бишкек
Владивосток
Владикавказ
Воркута
Воронеж
Горловка
Грозный
Донецк
Екатеринбург
Иваново
Ижевск
Иркутск
Казань
Калининград
Каменск-Уральский
Караганда
Каховка
Кемерово
Киров
Комсомольск-на-Амуре
Костанай
Краснодар
Красноярск
Красный луч
Ленск
Луганск
Магадан
Магнитогорск
Макеевка
Махачкала
Мелитополь
Минск
Мирный (Якутия)
Москва
Мурманск
Нерюнгри
Нижневартовск
Нижний Новгород
Нижний Тагил
Новая каховка
Новокузнецк
Новосибирск
Новый Уренгой
Норильск
Ноябрьск
Нур-Султан
Омск
Оренбург
Ош
Павлодар
Пермь
Петрозаводск
Петропавловск
Петропавловск-Камчатский
Псков
Ростов-на-Дону
Салехард
Самара
Санкт-Петербург
Саратов
Севастополь
Семей
Симферополь
Сочи
Ставрополь
Сургут
Сыктывкар
Тараз
Ташкент
Токмак
Томск
Тында
Тюмень
Ульяновск
Усинск
Усть-Каменогорск
Уфа
Хабаровск
Ханты-Мансийск
Херсон
Челябинск
Чита
Шымкент
Экибастуз
Энергодар
Южно-Сахалинск
Якутск
Ваш город
Барнаул
Войти
Запасные части к тракторам на одном сайте
+7 (932) 303-00-10
+7 (932) 303-00-10
г. Барнаул, ул. Попова, д. 244
Пн-Пт: 9:30-18:30 Cб-Вс: Выходной
Отправить заявку


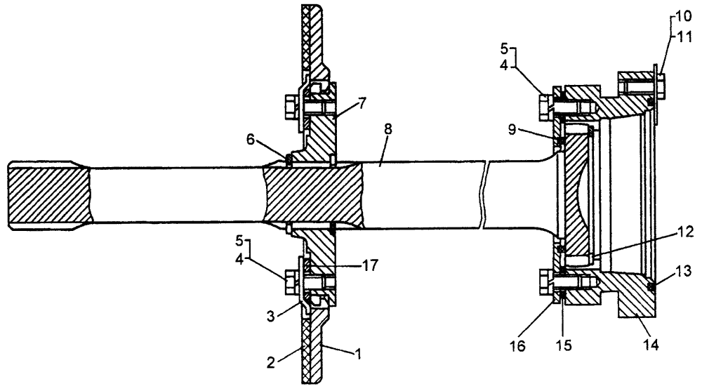
Детали муфты сцепления болотоходного трактора на Т10М / Б10М


/
с НДС 20%
Описание
Детали муфты сцепления болотоходного трактора Т10М
#Номер запчастиНаименование деталиКол-во в сборке
118-14-140-01СПТормозок
218-14-135Накладка фрикционная
318-14-122Пластина
4-Болт М12×25.88.45.019
5-Шайба 12 ОТ 65Г 0920
6700-58-2412Кольцо2
720-14-21Муфта1
820-14-24Вал1
946812Кольцо2
1012304Болт8
1131545Пластина4
12700-58-2520Кольцо1
1321363Кольцо1
1420-14-25Муфта1
15700-40-5259
700-40-5259-1
Прокладка1
1618-14-125Крышка1
1720-14-22Крышка1
Для муфты сцепления 20-14-2СП детали рис. 14-6 с позиции 28 по 40 исключаются и вместо них включаются все детали рис. 14-9.
Детали муфты сцепления болотоходного трактора