Запасные части ЧТЗ Запасные части ЧТЗ
Барнаул
Например:
Актобе
Алдан
или
Выбрать автоматически
Актобе
Алдан
Алматы
Алчевск
Архангельск
Астана
Астрахань
Атырау
Баку
Балашиха
Барнаул
Белгород
Бердянск
Бишкек
Владивосток
Владикавказ
Воркута
Воронеж
Горловка
Грозный
Донецк
Екатеринбург
Иваново
Ижевск
Иркутск
Казань
Калининград
Каменск-Уральский
Караганда
Каховка
Кемерово
Киров
Комсомольск-на-Амуре
Костанай
Краснодар
Красноярск
Красный луч
Ленск
Луганск
Магадан
Магнитогорск
Макеевка
Махачкала
Мелитополь
Минск
Мирный (Якутия)
Москва
Мурманск
Нерюнгри
Нижневартовск
Нижний Новгород
Нижний Тагил
Новая каховка
Новокузнецк
Новосибирск
Новый Уренгой
Норильск
Ноябрьск
Нур-Султан
Омск
Оренбург
Ош
Павлодар
Пермь
Петрозаводск
Петропавловск
Петропавловск-Камчатский
Псков
Ростов-на-Дону
Салехард
Самара
Санкт-Петербург
Саратов
Севастополь
Семей
Симферополь
Сочи
Ставрополь
Сургут
Сыктывкар
Тараз
Ташкент
Токмак
Томск
Тында
Тюмень
Ульяновск
Усинск
Усть-Каменогорск
Уфа
Хабаровск
Ханты-Мансийск
Херсон
Челябинск
Чита
Шымкент
Экибастуз
Энергодар
Южно-Сахалинск
Якутск
Ваш город
Барнаул
Войти
Запасные части к тракторам на одном сайте
+7 (932) 303-00-10
+7 (932) 303-00-10
г. Барнаул, ул. Попова, д. 244
Пн-Пт: 9:30-18:30 Cб-Вс: Выходной
Отправить заявку


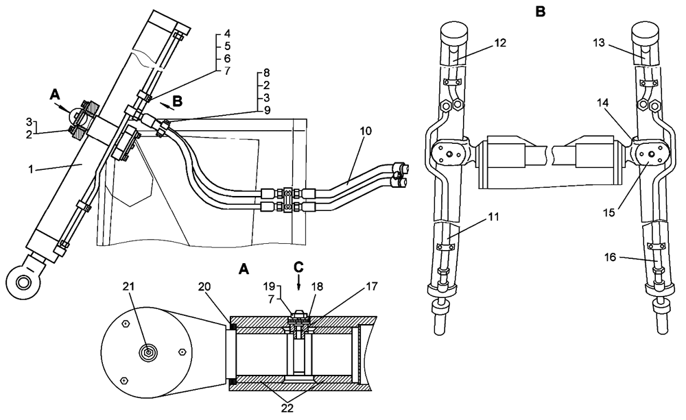
Установка гидроцилиндров на Т10М / Б10М


/
с НДС 20%
Описание
Установка гидроцилиндров на Т10М
# Номер запчасти Наименование детали Кол-во в сборке
- 64-26-41СП Установка гидроцилиндров 1
1 131-26-108-02СП Гидроцилиндр 2
2 2816 Болт 14
3 - Шайба 12 ОТ 65Г 09 14
4 50-26-879 Бугель 6
5 42212 Муфточка 6
6 - Болт М6g×35.88.35.019 12
7 - Шайба 6Т 65Г 09 12
8 50-60-230 Прижим 4
9 3011 Гайка 2
10 64-26-27СП 1
64-26-27-05СП
Рукав с защитой 4
11 64-26-271СП Труба 1
12 64-26-270-01СП Труба 1
13 64-26-270СП Труба 1
14 64-26-164 Вилка 2
15 64-26-287СП Крышка 4
16 64-26-271-01СП Труба 1
17 64-26-165 Стопор 2
18 64-26-166 Крышка 2
19 - Болт M6-6g×20.88.35.019 4
20 700-40-9326 Манжета 2
21 - Масленка 1.3.Ц6 4
22 64-26-163 Втулка 4
1 Для тропиков
Установка гидроцилиндров