Запасные части ЧТЗ Запасные части ЧТЗ
Барнаул
Например:
Актобе
Алдан
или
Выбрать автоматически
Актобе
Алдан
Алматы
Алчевск
Архангельск
Астана
Астрахань
Атырау
Баку
Балашиха
Барнаул
Белгород
Бердянск
Бишкек
Владивосток
Владикавказ
Воркута
Воронеж
Горловка
Грозный
Донецк
Екатеринбург
Иваново
Ижевск
Иркутск
Казань
Калининград
Каменск-Уральский
Караганда
Каховка
Кемерово
Киров
Комсомольск-на-Амуре
Костанай
Краснодар
Красноярск
Красный луч
Ленск
Луганск
Магадан
Магнитогорск
Макеевка
Махачкала
Мелитополь
Минск
Мирный (Якутия)
Москва
Мурманск
Нерюнгри
Нижневартовск
Нижний Новгород
Нижний Тагил
Новая каховка
Новокузнецк
Новосибирск
Новый Уренгой
Норильск
Ноябрьск
Нур-Султан
Омск
Оренбург
Ош
Павлодар
Пермь
Петрозаводск
Петропавловск
Петропавловск-Камчатский
Псков
Ростов-на-Дону
Салехард
Самара
Санкт-Петербург
Саратов
Севастополь
Семей
Симферополь
Сочи
Ставрополь
Сургут
Сыктывкар
Тараз
Ташкент
Токмак
Томск
Тында
Тюмень
Ульяновск
Усинск
Усть-Каменогорск
Уфа
Хабаровск
Ханты-Мансийск
Херсон
Челябинск
Чита
Шымкент
Экибастуз
Энергодар
Южно-Сахалинск
Якутск
Ваш город
Барнаул
Войти
Запасные части к тракторам на одном сайте
+7 (932) 303-00-10
+7 (932) 303-00-10
г. Барнаул, ул. Попова, д. 244
Пн-Пт: 9:30-18:30 Cб-Вс: Выходной
Отправить заявку


Кабина для трактора с механической трансмиссией на Т10М / Б10М


/
с НДС 20%
Описание
Кабина для трактора Т10М с механической трансмиссией
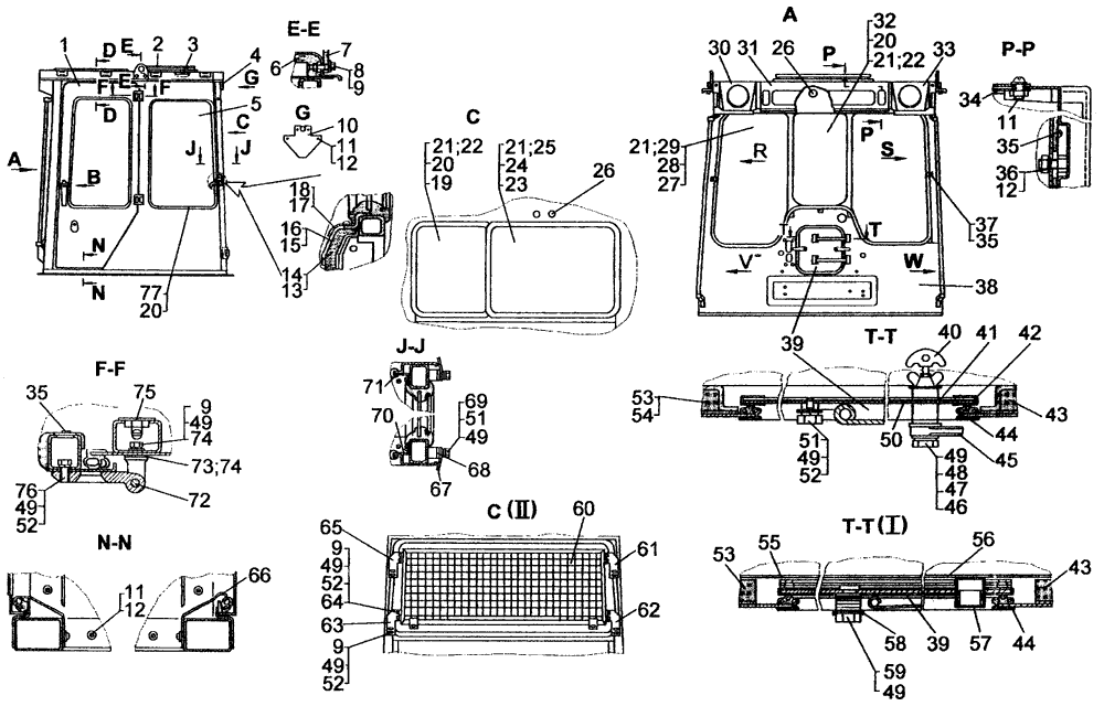
#Номер запчастиНаименование деталиКол-во в сборке
164-59-267СП
64-59-267-02СП 8
Дверь (правая)1
64-59-267-01СПДверь (левая)1
250-59-814СПУстановка люка1
3700-42-2801Обечайка1
450-59-1465-01Накладка1
550-59-1661 1, 3
50-59-1661-01СП 2
Стекло2
6700-40-9322Панель2
750-59-1157Петля2
840912Кольцо4
9-Болт М10-6gх30.58.Ц9.ч36
1050-25-158Планка1
11-Винт В.М6-6gх16.58.Ц9.ч22
12-Шайба 6Т 65Г Ц9.ч26
13700-40-8835Панель1
14700-40-8825Панель1
15700-42-2797-01Панель1
16700-42-2797Панель1
17700-42-2482Накладка1
1850-59-1468Накладка1
1950-59-1591 1Стекло 1
50-59-1591-01 2
64-59-233СП 3
Стеклопакет СПО 5/3-12-5/3 642x470
2024-59-228-07Кант4
21-Уплотнитель Пр-015;19 м
22700-40-9486 4Уплотнитель2
2350-59-1592 1
50-59-1592-01 2
Стекло 1
64-59-234СП 3Стеклопакет СПО 5/3-12-5/3 922x642
2424-59-228-09Кант3
25700-40-9486-02 4Уплотнитель1
26700-40-9305Пробка4
2750-59-1589 1Стекло 2
50-59-1589-01 2
64-59-236СП 3
Стеклопакет СПО 5/3-12-5/3 952x474
2824-59-228-08Кант2
29700-40-9486-01 4Уплотнитель4
30700-42-2816-01Накладка1
3150-59-81ЗСППанель1

32
50-59-1590 1
50-59-1590-01 2
Стекло 1
64-59-232СП 3СтеклопакетСПО 5/3-12-5/3 672x432
33700-42-2816Накладка1
3450-59-821СППластина1
35700-35-2191Винт90; 111 4
36-Гайка М6-7Н.6.Ц9.Ч6
3750-59-1078Прижим8; 29 4
3850-59-775СП 7, 8
50-59-775-02СП 4, 8
Каркас1
3950-59-548СП
50-59-546СП
Крышка1
4050-59-547СП 5Ручка2
41700-42-2693Панель1
4250-59-1285Окантовка1
43700-40-8823
700-40-8823-08
700-40-8823-12 8
700-40-8823-14 8
Панель1
1


44700-40-8842-02Уплотнение1
4524-59-205 5Прижим2
4650-59-969 5Прокладка2
47-Гайка М10.6.019 52
4831308-1 5Шайба2
49-Шайба 10 ОТ 65Г Ц9.ч18; 20 7
50700-40-9387
700-40-8840
Панель1
51-Болт М10-6gx18.58.Ц9.ч2
5231308-02Шайба34
53700-40-8824
700-40-8824-08
Панель1
54700-42-2627Панель1
55700-42-2892 6Панель1
5650-59-548-01СП 6Крышка1
57700-40-9449Пробка2
5864-59-247Планка1
59-Болт М10-6gx35.58.Ц9.ч6
6048-59-176-01СП 9
48-59-215СП 9
Защита1
6150-59-1617-03 9Кронштейн1
6250-59-1617-01 9Кронштейн1
6350-59-1617 9Кронштейн1
64-Гайка М10-7Н6.Ц9.ч 98
6550-59-1617-02 9Кронштейн1
6664-59-272Порожек2
6750-59-440СП
64-59-211СП 7
Защелка2
6864-59-288Проставка2
69-Болт M10-6gx35.58.194; 6 7
70700-42-2796Панель1
71700-42-2796-01Панель1
7250-59-817-01СПШарнир2
7350-59-1489Пластина8
743197-03Шайба10
75700-42-2659Заглушка4
76-Болт М6-6gx25.58.Ц9.ч8
77700-40-7716-06Уплотнитель2
I - Для трактора с электростартерной системой пуска.
II - Для кабины с защитой.
1 Для заказа комплект стекол 50-59-840СП.
2 Для заказа комплект стекол 50-59-841СП.
3 Для заказа комплект стеклопакетов 64-59-242СП.
4 Для установки стеклопакетов.
5 Для трактора с пусковым двигателем.
6 Для трактора с электростартерной системой пуска.
7 Для трактора c ROPS-FORS.
8 Для кабины с дополнительным масляным отопителем.
9 Кабина с защитой заднего стекла.
#Номер запчастиНаименование деталиКол-во в сборке
1700-40-8842Уплотнитель2
2700-40-8828Панель1
3700-40-8830Панель1
450-59-480СППланка2
5-Винт В.М6-6gх16.58.Ц9.ч22
631358-02Шайба26
7-Болт М6-6gх16.88.35.0198
8-Шайба 6Т 65Г 0926
9700-40-9323Панель1
10700-42-2603Кожух1
1150-59-415СПОпора1
1250-59-650СПЗеркало1
13700-42-2798Панель1
14700-40-9370-01Панель2
15700-40-8831Панель1
16700-40-8832Панель1
17700-42-2800Кожух1
18700-40-8826Панель1
19700-40-8836Панель1
20700-40-8827Панель1
21700-40-8837Панель1
22700-40-9305Пробка4
23700-42-2470Крючок1
2450-59-491СПКронштейн1
25700-42-2799Панель1
2650-59-1496Скоба2
2750-59-733СПМолоток1
2850-5В-497СПКронштейн1
29700-42-2660Пробка5
30700-35-2191Винт90
31-Винт В.М8-6gх35.58Ц9.ч2
32-Гайка М8-7Н.6.Ц9.ч2
33-Шайба 8Т 65Г Ц9.ч4
3431386-03Шайба2
35700-40-8838Панель1
36700-42-2982Панель1
37Е39410П25Винт4
3864-59-274Фиксатор2
39700-42-2627 1
700-42-2892 2
Панель1
40700-42-2982-01Панель1
1 Для трактора с пусковым двигателем.
2 Для трактора с электростартерной системой пуска.
Кабина для трактора с механической трансмиссией