Запасные части ЧТЗ Запасные части ЧТЗ
Барнаул
Например:
Актобе
Алдан
или
Выбрать автоматически
Актобе
Алдан
Алматы
Алчевск
Архангельск
Астана
Астрахань
Атырау
Баку
Балашиха
Барнаул
Белгород
Бердянск
Бишкек
Владивосток
Владикавказ
Воркута
Воронеж
Горловка
Грозный
Донецк
Екатеринбург
Иваново
Ижевск
Иркутск
Казань
Калининград
Каменск-Уральский
Караганда
Каховка
Кемерово
Киров
Комсомольск-на-Амуре
Костанай
Краснодар
Красноярск
Красный луч
Ленск
Луганск
Магадан
Магнитогорск
Макеевка
Махачкала
Мелитополь
Минск
Мирный (Якутия)
Москва
Мурманск
Нерюнгри
Нижневартовск
Нижний Новгород
Нижний Тагил
Новая каховка
Новокузнецк
Новосибирск
Новый Уренгой
Норильск
Ноябрьск
Нур-Султан
Омск
Оренбург
Ош
Павлодар
Пермь
Петрозаводск
Петропавловск
Петропавловск-Камчатский
Псков
Ростов-на-Дону
Салехард
Самара
Санкт-Петербург
Саратов
Севастополь
Семей
Симферополь
Сочи
Ставрополь
Сургут
Сыктывкар
Тараз
Ташкент
Токмак
Томск
Тында
Тюмень
Ульяновск
Усинск
Усть-Каменогорск
Уфа
Хабаровск
Ханты-Мансийск
Херсон
Челябинск
Чита
Шымкент
Экибастуз
Энергодар
Южно-Сахалинск
Якутск
Ваш город
Барнаул
Войти
Запасные части к тракторам на одном сайте
+7 (932) 303-00-10
+7 (932) 303-00-10
г. Барнаул, ул. Попова, д. 244
Пн-Пт: 9:30-18:30 Cб-Вс: Выходной
Отправить заявку


Управление дизелем с пусковым двигателем на Т-170


/
с НДС 20%
Описание
Управление дизелем с пусковым двигателем Т-170
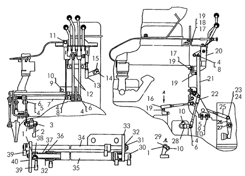
Поз.НаименованиеАртикулКол-во в сборке
0Управление дизелем с пусковым двигателем51-74-10СП1
1Шпонка700-34-20145
2Рычаг51-74-21
3Валик51-74-101
4Шплинт2,5Х2510
5Шайба313083
6Ось700-47-20458
7Мостик переходной51-74-130СП1
8Ось700-47-20752
9Шайба10ОТ65Г094
10БолтМ10Х30.58.0197
11Тяга51-47-220СП1
12Тяга51-74-131СП2
13Тяга16-74-196СП1
14Рычаг16-04-231
15БолтМ10Х30.58.0197
16Тяга16-74-185СП1
17БолтМ12Х30.58.0194
18ГайкаМ12Х6.0192
19Шайба12ОТ65Г097
20Блок управления дизелем с пусковым двигателем 51-74-208СП1
21Тяга51-74-461
22Тяга51-74-133СП1
23Палец173171
24Шплинт3,2Х251
25Тяга50-12-237СП1
26Рычаг21-74-11
27Шплинт5Х501
28Рычаг17-74-431
29Рычаг51-74-741
30Валик51-74-188СП1
31Шплинт3,2Х221
32Шайба314842
33Кронштейн51-74-136СП1
34Валик51-74-135СП1
35Валик51-74-137СП1
36Сальник700-77-84-012
37Пружина383561
38Шплинт3,2Х402
39Рычаг51-74-72
40Кронштейн51-74-501
Управление дизелем с пусковым двигателем